



World's Fastest Online Shopping Destination
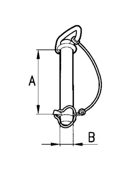
Spinotto d'Attacco con Coppiglia a Scatto per Gancio Traino Trattore
Ricambio indispensabile per l'attacco di rimorchi e attrezzi dietro al gancio traino del proprio trattore.
Grazie alla catenella inclusa non ci sarà il rischio di perdere la coppiglia a scatto.
Lunghezza 160 mm
Diametro Ø25 mm
1
Perni, Spine Grilli di Ricambio Attacco Terzo Punto, per Trattore, Mezzi Agricoli ed Industriali
